Описание
Деталь 910485 применяется в узлах TGB:
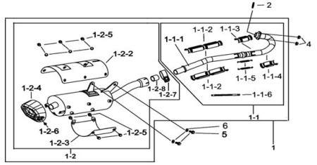
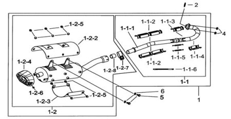
• Выхлопная система (деталь 1-2-4 на схеме 1) для Blade 600 LTX EPS
• Выхлопная система (деталь 1-2-4 на схеме 2) для Blade 600 LTX EPS Premium
• Выхлопная система (деталь 1-2-4 на схеме 3) для Blade 1000 LTX EPS
• Выхлопная система (деталь 1-2-4 на схеме 4) для Blade 1000 LTX EPS Premium
• Выхлопная система (деталь 1-2-4 на схеме 5) для TARGET 600 EPS
• Выхлопная система (деталь 1-2-4 на схеме 1) для Blade 600 LTX EPS
• Выхлопная система (деталь 1-2-4 на схеме 2) для Blade 600 LTX EPS Premium
• Выхлопная система (деталь 1-2-4 на схеме 3) для Blade 1000 LTX EPS
• Выхлопная система (деталь 1-2-4 на схеме 4) для Blade 1000 LTX EPS Premium
• Выхлопная система (деталь 1-2-4 на схеме 5) для TARGET 600 EPS
Похожие товары
10 647 ₽
В наличии
В корзинуВ корзине
Купить в 1 клик
Самовывоз - бесплатно!
Доставка - от 1-го дня
Доставка - от 1-го дня
Цена на товар может отличаться от цены указанной на сайте. Конечную стоимость вам сообщит менеджер.
Нужна консультация?
Наши специалисты ответят на любой интересующий вопрос
Задать вопрос
